In Chinese-made hydraulic rock drills, the rotation unit is usually fed water from the side. The choice of seal material and design has a big effect on how well the seal works and how long it lasts — which in turn affects the overall performance of the drill.
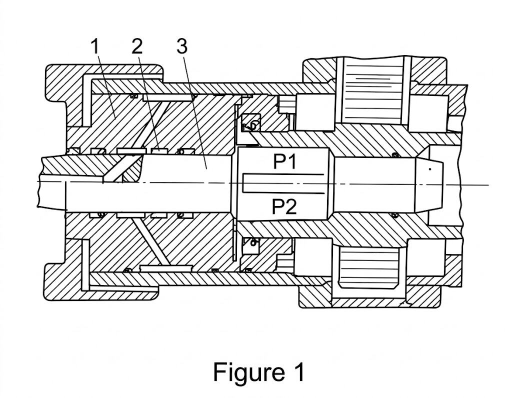
The side-feed water system on a hydraulic rock drill rotation unit is mainly made up of three parts: a water sleeve (1), a water seal (2), and a shank tail (3) (see Fig. 1). When the drill is running, the shank tail both rotates and moves back and forth along the axis at high frequency, transferring impact energy. The working parameters of the YYC250B hydraulic rock drill water seal are: shank rotation speed 220 r/min, shank impact frequency 60 Hz, flushing water pressure 1 MPa, hole-drilling speed 110 cm/min. These numbers show that the water seal is under a combined friction load caused by high-frequency axial pounding and rotation. Because of this, the seal material must have the following properties:

After comparing options, we chose polyurethane as the seal material. Its molecular structure contains urethane groups, giving it high mechanical strength — about 1 to 4 times that of nitrile rubber. Its wear resistance is excellent, around 10 to 15 times better than natural rubber. It also has good oil resistance (more than 5 times better than nitrile rubber) and performs well in terms of ozone and aging resistance.

It should be noted that polyurethane comes in two main types with different grades, and the choice affects how well the seal works. The first type is polyester-based polyurethane (grades such as Dongfeng-1 and JA3). The second type is polyether-based polyurethane (grades such as JA2 and JA5). Polyester-type has good mechanical properties, but its water resistance is poor — water reacts chemically with the polar groups in the elastomer network, breaking down the structure. The more polar groups in the network, the worse the water resistance. Polyether-type has fewer polar groups, so its water resistance is more than 5 times better than polyester-type. However, because the ether bonds in polyether-type store less energy, its mechanical strength is not as good as polyester-type. The obvious solution is to combine the strengths of both types. By blending the two together and adding a wear-resistant filler, we can get a material with both good mechanical performance and good water resistance. To do this, we worked with a rubber products factory (a polyurethane manufacturer) to make a custom blended polyurethane material. Tests showed that seals made from this material have significantly better sealing performance and service life.
Given the loading conditions on the water seal of the rotation unit, we chose Y-type seal rings. This type has three advantages: (1) self-sealing effect — when pressure is applied, the lips press tighter and seal better; (2) low running resistance and smooth operation; (3) good stability, suitable for hydraulic parts with rapidly changing pressure. O-type rings tend to get twisted and damaged under these conditions.
The Y-type ring seals mainly through the self-sealing action of its lips. Fig. 2 shows the contact pressure distribution of a Y-type ring fitted in the water sleeve groove. With no pressure, only a small contact pressure is created by the deformation of the lip tip (Fig. 2b). Once internal pressure is applied, Pascal's law states that in a closed system, every point in contact with the fluid receives a normal force equal to the internal pressure. This causes the bottom of the seal ring to be compressed axially and the lips to be compressed circumferentially. The lip contact area with the shank increases, and the contact pressure also increases (Fig. 2c). When internal pressure rises further, the pressure distribution and magnitude change even more (Fig. 2d), pressing the lips even tighter against the shaft — this is the "self-sealing effect." It is why the Y-type ring is a good fit for this water seal application.

The contact pressure distribution is closely related to the shape of the lips. The key to good sealing in a lip-type ring is the pressure distribution across the sealing contact band and the peak pressure at the lip tip. Fig. 3a compares the sealing effect of Y-type rings with and without a chamfer on the front lip. The ring with a chamfer has a clear pressure peak at the sealing contact band, which best meets the requirements for lip-type seal performance. By choosing the right front lip angle θ, leakage can be greatly reduced — at θ > 30°, the leakage is only half of what it is at θ = 0°. Fig. 3b compares the sealing effect with and without a chamfer on the back lip (heel). Unlike the front lip, a chamfer on the heel creates a second pressure peak under working pressure, which blocks water from flowing back and increases leakage. Without a heel chamfer, there is no second pressure peak, and the seal works better.

A well-designed seal ring lets the material perform to its full potential. For the Y-type ring, one of the most important factors for performance and service life is the relationship between dimension l and dimension h (see Fig. 4). From practical use, when the ratio l/h = 1, the ring can keep leakage low over a longer period. So for best sealing, the value of l/h should be kept at 1.
Also, after the seal has been running for a while, the lip opening will wear down. If the lip cannot compensate for this wear, leakage will start. The lip wall thickness b should be chosen based on the mechanical properties of the material and the diameter of the shank. The goal is to ensure the lip has enough stiffness while still allowing it to flex and compensate for wear.

If the seal ring is not handled carefully during installation, it can be scratched or deformed, which affects quality and may make it unusable. The following points must be observed:

In summary, choosing the right seal material, using a sound design, and taking care during installation are the keys to improving sealing performance and service life in hydraulic rock drill rotation units. In practice, the approach described here has produced good results — leakage has dropped and service life has increased significantly.